گلکسی زد فولد 5 احتمالاً با لولای جدید و چینخوردگی کمتر نمایشگر معرفی میشود
اخبار مختلفی درباره مشخصات گوشی Z Fold 5 منتشر شده که نشان میدهند سامسونگ یک گوشی فوقالعاده را روانه بازار خواهد کرد. اگر به تکنولوژی گوشیهای تاشو علاقه دارید، پیشنهاد میکنیم معرفی و بررسی گوشی Z Fold 5 را از دست ندهید.
گوشیهای تاشو سامسونگ راه درازی را برای تبدیل شدن به یک الگو طی نمودهاند که در این میان اولین نسخه از این محصولات را میتوان به ظعیف ترین گوشی تاشو از برند سامسونگ دانست که با برطرف نمودن مشکلات بسیار آن در نسخه دوم، روند این نارضایتی به شدت کاسته شد. در نسخه سوم علاوه بربهبود مشکلات نسخه دوم شاهد یکسری بخشهای نوین بودهایم که این مورد در نسخه چهارم نیز به شدت دیده شد. حال در سال 2023 شاهد عرضه نسل جدیدی از این محصول با نام گوشی Galaxy Z Fold 5 خواهیم بود.
گوشی تاشو جدید سامسونگ با تغییر طراحی از راه میرسد
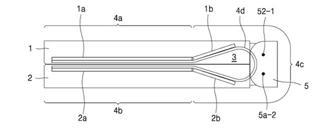
گوشیهای تاشو گلکسی زد فولد 4 و زد فلیپ 4 از لولایی با طراحی U شکل بهره میبرند که نمایشگر را در حالت بسته در زاویه بهتری قرار میدهد، اما باعث چینخوردگی نمایشگر میشود. درواقع این طراحی میتواند فشار بیشتری روی نمایشگر ایجاد کند و یکی از ضعفهای طراحی گوشیهای تاشو سامسونگ نیز محسوب میشود.
یکی از منابع آگاه سامسونگ اکنون میگوید سامسونگ ظاهراً قصد دارد این طراحی U شکل مربوط به لولای دستگاه را تغییر دهد. درواقع نسل بعدی گوشیهای تاشو سامسونگ احتمالاً با طراحی لولای قطرهایشکل از راه میرسند که نتیجه آن کمترشدن چینخوردگی نمایشگر و کاهش فشار روی صفحه نمایش خواهد بود.

معرفی و بررسی گوشی Z Fold 5 از نظر عملکرد
گلکسی زد فولد ۵ به تراشه اسنپدراگون ۸ نسل ۲ مجهز میشود. البته، این احتمال وجود دارد که نسخه جدیدی از این تراشه رونمایی شود و سامسونگ تصمیم بگیرد که تراشه جدید و قویتر را در پرچمدار تاشوی خود قرار دهد.
کوالکام در تابستان ۲۰۲۲ تصمیم گرفت نسخه پلاس تراشه اسنپدراگون ۸ نسل ۱ را رونمایی کند و این تراشه، در بسیاری از گوشیهای ردهبالا و پرچمدار، ازجمله گلکسی زد فولد ۴ قرار گرفت. بنابراین، میتوان انتظار داشت که گلکسی زد فولد ۵ به اسنپدراگون ۸ پلاس نسل ۲ مجهز شود

معرفی و بررسی گوشی Z Fold 5 از نظر باتری و سرعت شارژ
باتری و شارژدهی هم در معرفی و بررسی گوشی Z Fold 5 اهمیت زیادی دارد؛ چراکه نقش مهمی را در انتخاب و خرید دارد. انتظار میرود که سامسونگ در مشخصات Z Fold 5 از باتری و سرعت شارژ بهتر استفاده کند.
البته، بعید است که گلکسی زد فولد ۵ بتواند از لحاظ شارژدهی، عملکردی بهتر از سایر گوشیهای هوشمند بازار داشته باشد؛ چراکه فضای داخلی کمتری برای حجم باتری وجود دارد و علاوهبراین، دو نمایشگر بیرونی و داخلی دارد که شارژ بیشتری مصرف میکنند

بررسی Z Fold 5 از نظر طراحی و نمایشگر
یکی از ویژگیهای قابل توجه گوشیهای سری Z Fold این است که ضخامت و وزن نسبتا بالایی دارند؛ این موضوع بهدلیل نمایشگر تاشوی بزرگ داخلی است. اما جستجو در اخبار پیرامون معرفی و بررسی گوشی Z Fold 5 نشان میدهد که این گوشی بهلطف متریال جدید، وزن کمتری خواهد داشت.

زمان رونمایی گلکسی Z Fold 5
در حال حاضر، هیچ تاریخ رسمی برای رونمایی گلکسی Z Fold 5 مشخص نشده است. اما با توجه به زمان رونمایی و عرضه مدلهای قبلی گلکسی Z Fold میتوان زمان احتمالی رونمایی را پیشبینی کرد. نسلهای قبلی گلکسی زد فولد در تاریخهای زیر رونمایی شدند:
- گلکسی Z Fold: سپتامبر 2019
- گلکسی Z Fold 2: سپتامبر 2020
- گلکسی Z Fold 3: اوت 2021
- گلکسیZ Fold 4 : اوت 2022
سخن پایانی
سامسونگ با ساخت نسل گوشیهای تاشو در اولین نسخه قصد داشت تا توسعه و روند ساخت گوشی خود را نسبت به آینده که پیشبینی مینمود گسترش دهد. حال در سال ۲۰۲۳ شاهد جدیدترین نسخه از گوشیهای سامسونگ هستیم که گوشی Galaxy Z Fold 5 را میتوان حاصل یک عمر تجربه و آزمون و خطا از این شرکت مطرح جهانی که در حوزههای مختلف فعالیت دارد دانست. به همین دلیل در این مقاله سعی کردیم بخشهای مهم این گوشی جدید را مورد بررسی قرار دهیم. حال شما عزیزان میتوانید نظر خود را نسبت به سختافزار و دوربین و ویژگیهای ذکر شده در مقایسه با قیمت گوشی بیان کنید بیتردید این کار سبب رشد بهتر مقاله و تکمیل شدن آن خواهد شد.
امید وارماین مقاله براتون مفید باشه ولذت برده باشید.